user_handbook/docs/posts/administrative.md
2026-03-30 10:23:03 +08:00

3.8 KiB
Raw Blame History

行政

DMA方案前

(一)用户下单缴费阶段

  1. 行政确认合同类型

    收到用户线上 / 线下支付成功通知后1 个工作日内登录【后台系统 - 订单管理模块】,根据支付渠道(线上订单显示 “APP 支付”,线下订单显示 “线下转账”)确认合同类型(线上 / 线下),并在系统中勾选对应类型完成同步。 仔细核对支付信息与订单信息的一致性,确保合同类型判断准确。

    img.png

    若支付信息与订单信息不一致,立即联系技术核实,待确认后再进行合同类型确认。

(二)合同签署与群聊搭建阶段

  1. 行政处理线下合同签署

    若用户选择线下合同,在收到线下合同原件后,登录【后台系统 - 订单管理模块】,找到对应订单的合同,点击【线下合同签署】按钮。

    img.png

    仔细核对合同内容及用户签字是否完整、清晰,扫描件需清晰可辨。

    若合同内容有误或用户签字不清晰,联系客服与用户沟通重新签署,待收到正确合同后再进行确认签署操作。

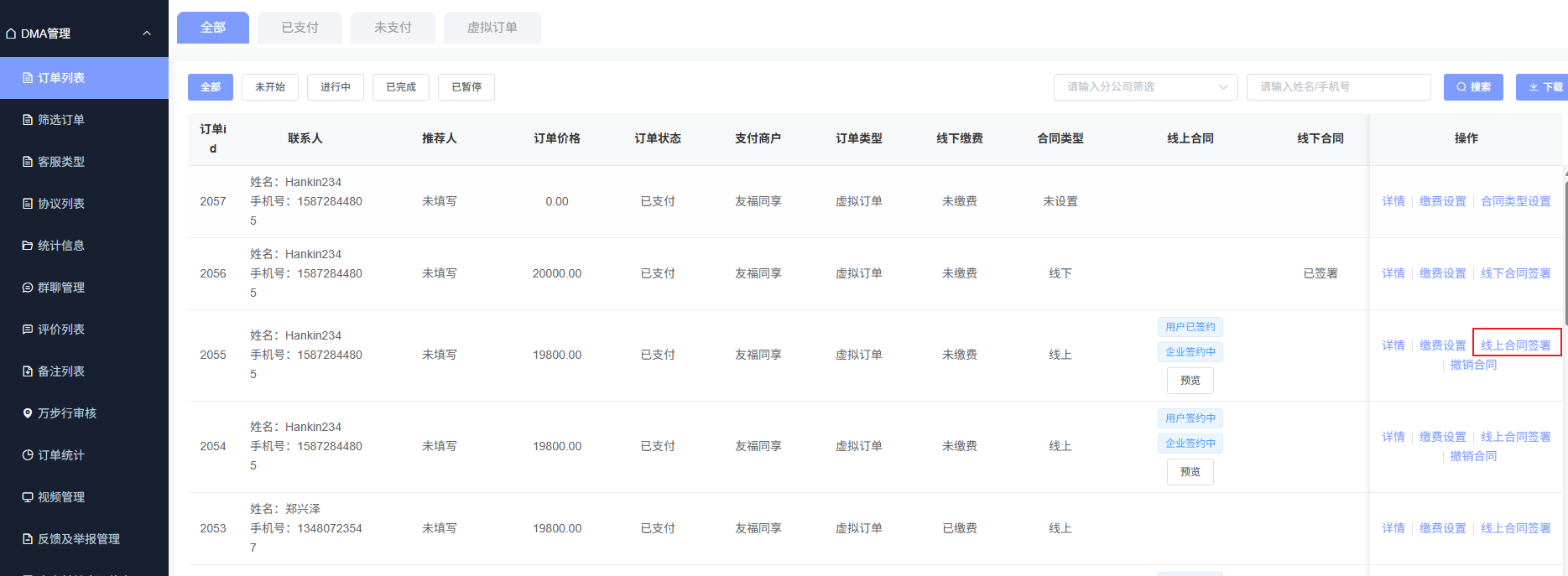
  2. 行政处理线上合同签署跟进

    用户签署线上合同后,系统会发送 “待公司签署” 通知,行政需在 1 个工作日内登录【后台系统 - 订单管理模块】,找到对应订单,点击 “线上合同签署”,完成电子签名确认。

    img.png

    签署前再次核对合同条款,确保无误。

    若电子签名无法正常使用,检查系统设置或联系技术支持解决。

  3. 行政邀请服务团队进群

    合同类型确认后2 小时内登录【后台系统 - 客户合同类型确认后2 小时内登录【后台系统 - 订单管理模块】,选择对应客户订单,点击 “详情”,设置中选择对应的 “主教练、副教练、客服” 角色,系统自动发送进群邀请。

    img.png

    对应客户订单详情,点击 “设置”,勾选 “主教练、副教练、客服” 角色,系统自动发送进群邀请。

    确保邀请的人员角色准确,避免遗漏或误邀。 若系统发送邀请失败,检查网络连接,重新操作;若仍失败,联系技术支持处理。

(三)配货

收到健康管理师设置完方案信息后4 小时内根据方案内容进行配货核对货物数量、种类与方案一致后登录【商务端APP】找到对应群聊在【用户信息】中选择健康档案点击【标记配送已完成】若为配送订单录入快递单号物流公司需选择合作物流和产品照片若为自提订单上传产品照片。

img.png

照片需清晰、完整,能作为发货凭证。

配货时轻拿轻放,避免货物损坏,确保包装完好。

若发现货物短缺或损坏,及时联系仓库补充或更换,延迟发货需提前告知客服,由客服向客户说明情况。