3.8 KiB
行政
DMA方案前
(一)用户下单缴费阶段
-
行政确认合同类型
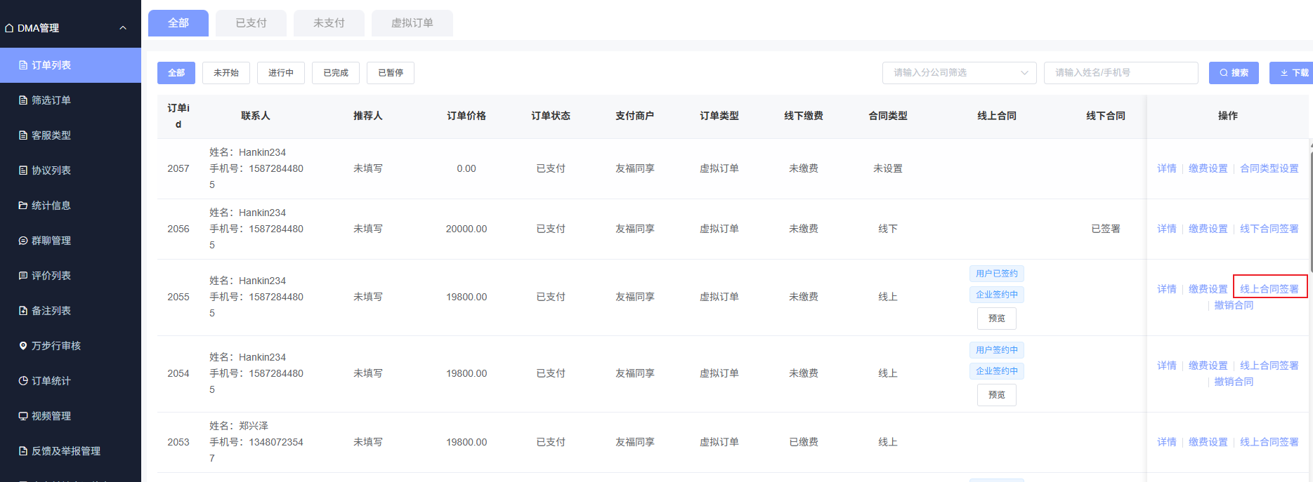
收到用户线上 / 线下支付成功通知后,1 个工作日内登录【后台系统 - 订单管理模块】,根据支付渠道(线上订单显示 “APP 支付”,线下订单显示 “线下转账”)确认合同类型(线上 / 线下),并在系统中勾选对应类型完成同步。 仔细核对支付信息与订单信息的一致性,确保合同类型判断准确。
若支付信息与订单信息不一致,立即联系技术核实,待确认后再进行合同类型确认。
(二)合同签署与群聊搭建阶段
-
行政处理线下合同签署
若用户选择线下合同,在收到线下合同原件后,登录【后台系统 - 订单管理模块】,找到对应订单的合同,点击【线下合同签署】按钮。
仔细核对合同内容及用户签字是否完整、清晰,扫描件需清晰可辨。
若合同内容有误或用户签字不清晰,联系客服与用户沟通重新签署,待收到正确合同后再进行确认签署操作。
-
行政处理线上合同签署跟进
用户签署线上合同后,系统会发送 “待公司签署” 通知,行政需在 1 个工作日内登录【后台系统 - 订单管理模块】,找到对应订单,点击 “线上合同签署”,完成电子签名确认。
签署前再次核对合同条款,确保无误。
若电子签名无法正常使用,检查系统设置或联系技术支持解决。
-
行政邀请服务团队进群
合同类型确认后,2 小时内登录【后台系统 - 客户合同类型确认后,2 小时内登录【后台系统 - 订单管理模块】,选择对应客户订单,点击 “详情”,设置中选择对应的 “主教练、副教练、客服” 角色,系统自动发送进群邀请。
对应客户订单详情,点击 “设置”,勾选 “主教练、副教练、客服” 角色,系统自动发送进群邀请。
确保邀请的人员角色准确,避免遗漏或误邀。 若系统发送邀请失败,检查网络连接,重新操作;若仍失败,联系技术支持处理。
(三)配货
收到健康管理师设置完方案信息后,4 小时内根据方案内容进行配货,核对货物数量、种类与方案一致后,登录【商务端APP】,找到对应群聊,在【用户信息】中选择健康档案,点击【标记配送已完成】,若为配送订单,录入快递单号(物流公司需选择合作物流)和产品照片;若为自提订单,上传产品照片。
照片需清晰、完整,能作为发货凭证。
配货时轻拿轻放,避免货物损坏,确保包装完好。
若发现货物短缺或损坏,及时联系仓库补充或更换,延迟发货需提前告知客服,由客服向客户说明情况。




